Xalet urb. E. Serra #2
DATOS
Ref: 01-075
Chalet #2 en urbanización E. Serra
Dirección: Urb. E. Serra (Ver en el mapa)
Localización : Escaldes-Engordany
EQUIPO
Promotor: particular
Arquitectura: Joan COLL CAPÓ
Estructura: GET BEAL DESCRIPCIÓN
Categoría: Vivienda unifamiliar
Año inicio: 2001
Año final: 2004
Usos: Vivienda
Alturas estructura: -2 / +3
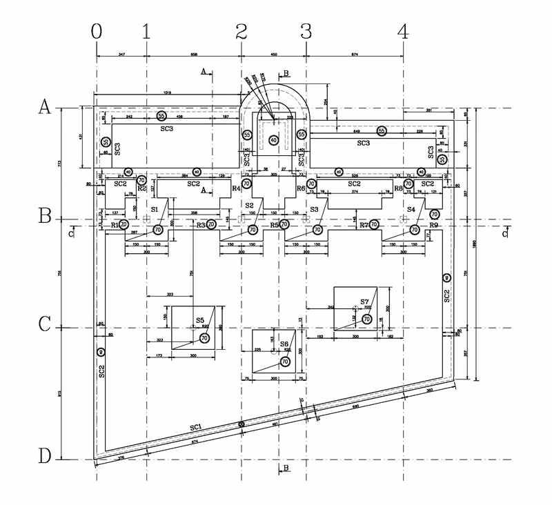
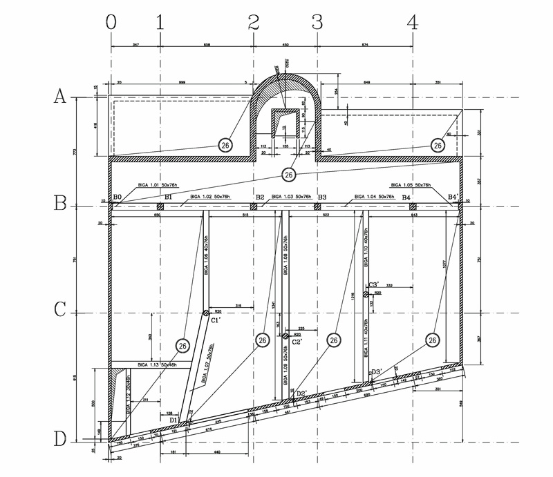
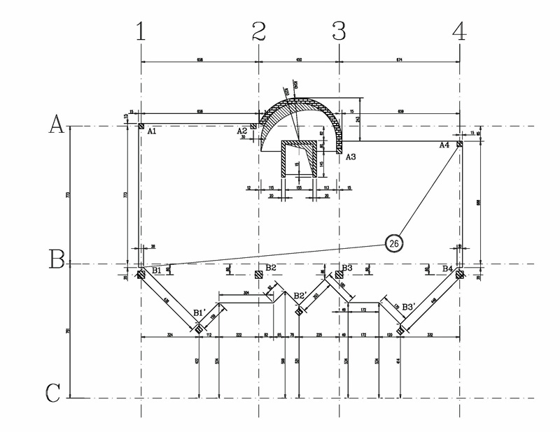
ESTRUCTURA
Superficie construida estructura: 2.010m2
Sostenimiento: pantalla anclada de micropilotes
Cimentación: superficial
Estructura: hormigón armado

